Adapter für Rapido Serie 7, 8, 9 zu TO Serie 5 und 8
Adapter für Rapido Serie 7, 8, 9 zu TO Serie 5 und 8
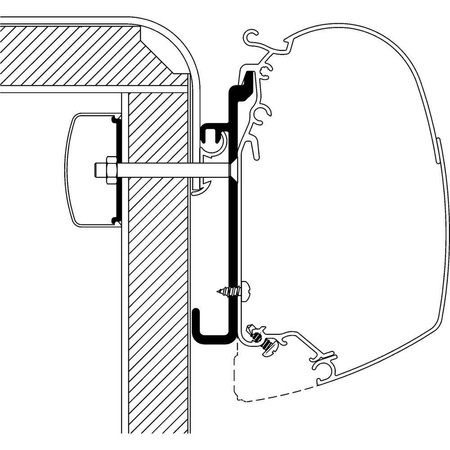
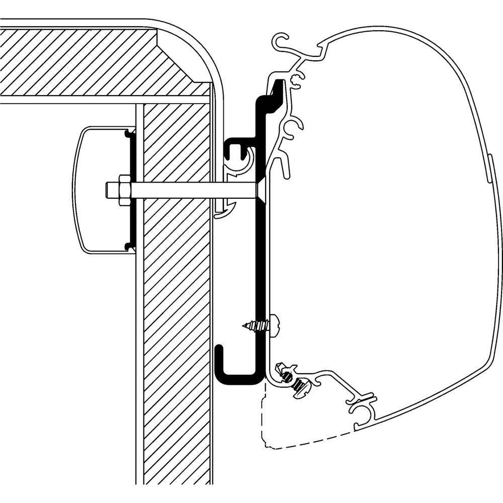
Markisenadapter für Rapido Reisemobile.
Marke
Symbol
90685
Herstellercode
5415182004336
Długość towaru w centrymetrach
390
Szerokość towaru w centrymetrach
10
Wysokość towaru w centrymetrach
13
Model pojazdu
Kampery Rapido Series 7 & 8 & 9 1998 - dziś
Waga brutto
9 kg
Długość
4 cm
Waga netto
8 kg
Max wymiar pakowania
390 cm
Min wymiar pakowania
10 cm
Śr wymiar pakowania
13 cm
EAN
5415182004336
Stelle eine Frage
Ihre Bewertung schreiben









